تقترب شركة سامسونج من الكشف عن هاتفها الذكي القابل للطي الثلاثي، في خطوة طال انتظارها منذ الإعلان الترويجي الأول للجهاز مطلع العام الجاري.
وتوقعت تسريبات عدة أن يحمل الهاتف الجديد اسم Galaxy TriFold، وأن يُطرح قبل نهاية أكتوبر الجاري، مع اعتماد تصميم نهائي يقدّم تجربة استخدام غير مسبوقة.
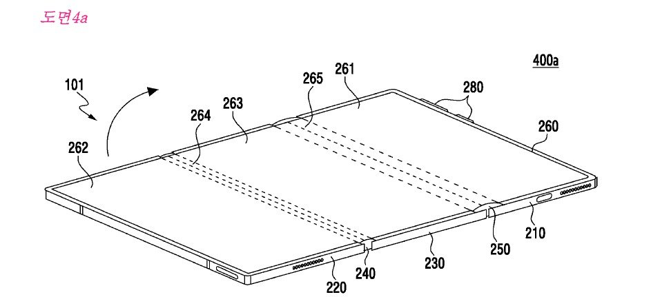
وأظهرت براءة اختراع نشرها موقع GalaxyClub الهولندي، الخميس الماضي، تفاصيل دقيقة تتعلق بالتصميم الخارجي والداخلي للجهاز، إذ يتكون من 3 شاشات متصلة عبر مفصلين، ما يسمح بطيه إلى 3 أجزاء.

وسيكون أحد المفصلين أكبر حجمًا ليتيح طي جزأين من الجهاز فوق بعضهما البعض، وهو ما يعزز من مرونة الاستخدام.
وعلى عكس هاتف Huawei Mate XT الذي يعتمد على طي خارجي، فإن جهاز سامسونج الجديد يعتمد على طي داخلي، ما يتطلب وجود شاشة إضافية على الجهة الخارجية لعرض المعلومات عند إغلاق الجهاز، ويُتوقع أن يبلغ قياسها 6.5 بوصة.
وأفاد التقرير بأن الهاتف يحتوي على 3 بطاريات منفصلة، موزعة داخل الأجزاء الثلاثة القابلة للطي، وتأتي بأحجام مختلفة لتوفير توزيع فعّال للطاقة.
وتظهر الصور المسربة أن سامسونج تسعى للحفاظ على نحافة التصميم رغم تعقيده، مع العمل على تعزيز عمر البطارية بقدر الإمكان.
وتشير المعلومات إلى أن الجهاز يحتوي على شاشة OLED بقياس 10 بوصات عند فتحه بالكامل، وهو ما يقدمه كخيار مثالي لتعدد المهام والاستخدامات الترفيهية.
ويعتمد الجهاز على نظام تشغيل Android 16 وواجهة One UI 8 التي ستتضمن مزايا محسّنة في تعدد النوافذ وتنفيذ المهام المتزامنة.

ويعمل الهاتف بمعالج Snapdragon 8 Elite for Galaxy، ومن المتوقع أن يحتوي على ذاكرة وصول عشوائي تصل إلى 16 جيجابايت، وسعة تخزين تبدأ من 256 جيجابايت، وأن يدعم تقنيات الشحن اللاسلكي والشحن العكسي، فضلًا عن وجود منفذ USB-C.
وتوقع التقرير أن تكون قدرات التصوير إحدى أبرز نقاط القوة في الهاتف، إذ أظهرت براءة الاختراع أن يحتوي على كاميرا ثلاثية تتضمن مستشعرًا رئيسيًا بدقة 200 ميجابكسل، إلى جانب عدسة واسعة وأخرى زووم، مع دعم للتكبير الرقمي حتى 100 مرة، ما يعكس قدرات متقدمة مشابهة لما هو متاح في الهواتف التقليدية.
ونقل موقع SamMobile عن مصادر لم يسمها، قولها إن الشركة الكورية الجنوبية تنوي طرح الهاتف في عدد من الأسواق الدولية، متجاوزة الحصر السابق في الصين وكوريا الجنوبية.
وتوقع أن يصل الهاتف إلى أسواق أخرى في البداية، مثل الإمارات، والولايات المتحدة، وهو ما يعكس ثقة سامسونج بقدرات الجهاز وسعيها لإبرازه أمام جمهور أوسع حول العالم.
ولفت الموقع إلى إمكانية أن يحصل الهاتف على دعم طويل الأمد بالنسبة للتحديثات البرمجية، موضحاً أنه سيزود بـ 7 تحديثات رئيسية لنظام أندرويد، ما يعزز من عمره الافتراضي ويزيد من جاذبيته لدى المستخدمين الباحثين عن استثمار تقني طويل الأمد.
وبينما لم يصدر إعلان رسمي من سامسونج حتى الآن، فإن المعطيات الحالية تشير إلى أن الكشف عن الجهاز ربما يحدث في فعالية Unpacked جديدة، إلى جانب عدد من الأجهزة المرتقبة.
